
? ECB型鷹牌混凝土夾具、混凝土制品夾鉗日本鷹牌EAGLE CLAMP品牌產品,煙臺開發區龍海起重工具有限公司銷售。

ECB型鷹牌混凝土夾具介紹:
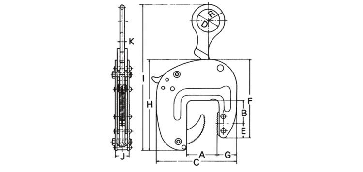
* ECB型鷹牌混凝土夾具,屬混凝土制品夾鉗、道路邊溝用夾鉗,鷹牌EAGLE CLAMP品牌產品。
* ECB型鷹牌混凝土制品夾鉗為小型輕量,載荷250kg自重為2.2kg
* ECB型鷹牌混凝土夾具采用單觸式夾緊、釋放裝置,擁有5倍安全系數

【ECB型鷹牌混凝土夾具應用】各種道路用側溝,排水路用,步車道路障,L型塊,組立水路,棚板,芝臺,井側,石材等。

![]()
ECB型鷹牌混凝土夾具為日本鷹牌eagle clamp原裝進口產品,保質1年,我公司承諾凡是客戶在我公司定購的進口類產品均為原裝正品,絕不存在拆件貨,換件貨,假冒品牌產品,凡客戶從我公司訂購日本鷹牌eagle clamp產品如收到貨物時發現有拆件貨,換件貨,假冒、假貨仿貨均以100倍金額賠償。
產品分類:混凝土制品夾鉗?