
? IPU10S科索比Crosby鋼板起重鉗,適用于不銹鋼材料吊裝工具。各個型號經過各項標準的檢測認證,抗疲勞壽命測試、抗沖擊性能測試

IPU10S科索比Crosby鋼板起重鉗特點:
* IPU10S鋼板起重鉗適用于不銹鋼材料。
* IPU10S鋼板起重鉗采用高品質的合金鋼材質鍛造而成,工作安全可靠,使用壽命長,耐久性強。
* IPU10S鋼板起重鉗可180°轉向范圍(帶有萬向吊眼),移動、轉動效果好,具有自動鎖封閉能力。
![]()
IPU10S鋼板起重鉗為美國科索比Crosby原裝進口產品,保質1年,我公司承諾凡是客戶在我公司訂購的進口類產品均為原裝正品,絕不存在拆件貨,換件貨,假冒品牌產品,凡客戶從我公司訂購美國科索比Crosby產品如收到貨物時發現有拆件貨,換件貨,假冒、假貨仿貨均以100倍金額賠償。
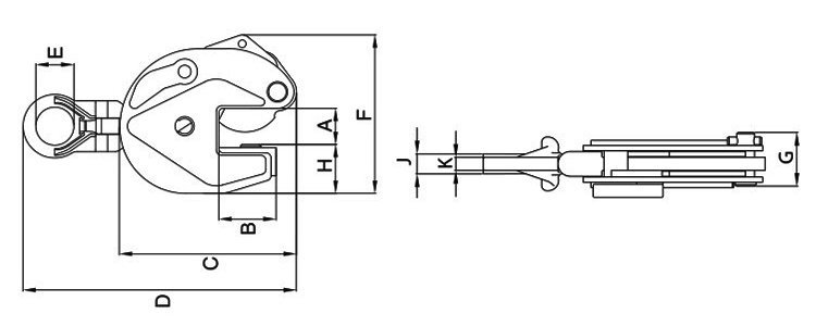
產品選型:無傷鋼板夾具?