

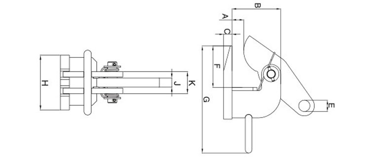
IPH10型科索比水平吊鉗介紹:
*IPH10型科索比水平吊鉗屬于水平起吊用夾鉗【水平吊鉗】【美國Crosby科索比品牌吊具】。
*Crosby IPH10水平起重鉗:采用焊接合金鋼體、夾緊力更加牢固,使用時安全系數高,強度大,韌性強,使用壽命長。
*IPH10鋼板吊鉗配有彈簧卡鎖裝置,鎖緊快速,在鉗口位置,配有磁鐵起重物件時物件不會滑動,手柄操作,使用簡單。

IPH10型科索比水平吊鉗使用案例:

![]()
IPH10型科索比水平吊鉗為美國Crosby(科索比)原裝進口產品,保質1年,我公司承諾凡是客戶在我公司定購的進口類產品均為原裝正品,絕不存在拆件貨,換件貨,假冒品牌產品,凡客戶從我公司訂購美國Crosby(科索比)產品如收到貨物時發現有拆件貨,換件貨,假冒、假貨仿貨均以100倍金額賠償。
產品選型:水平吊鉗?